在能量收集應用中,當來自環境源的能量減少到低于有用水平時,備用電池在維持功率輸出方面起著關鍵作用。為了保持電池性能和安全性,這些應用需要能夠將電池狀態和故障狀態傳達給中央服務器和操作員。特別是,電池組的安全操作需要仔細監控以檢測可能導致電池故障的電池缺陷,短路和劣化。例如,與鋰離子電池組相關的安全問題正在推動對連續電池監測和故障的快速通信的需求以及能夠在嚴重故障發生之前進行干預的人類操作員的潛在問題。
設計人員可以利用IC制造商提供的可用設備實現高效的遠程電池監控功能,包括ADI公司,Atmel公司,凌力爾特公司,Maxim Integrated公司,Silicon Labs公司和德州儀器公司。
遠程電池監控子系統將基于MCU的電池監控和無線通信功能與低功耗RF收發器或具有集成無線功能的MCU相結合,將電池狀態傳輸到中央設施(圖1)。


圖1:遠程電池監控解決方案依靠帶集成ADC的MCU來測量電池電壓并通信電池使用成對的RF收發器(A)或集成無線功能(B)的狀態。對于要求更高的應用,專用電池管理IC提供額外的細節和保護(德州儀器提供)。
在許多應用中,帶有集成ADC的低功耗MCU可以提供所需的單元監控級別,測量單元電壓并執行軟件程序來識別故障。德州儀器(TI)MSP430F2012和MSP430F2013 16位MCU將低功耗運行與集成ADC,模擬比較器,存儲器和串行接口相結合。工程師可以選擇采用MSP430F2012的10位ADC,或采用MSP430F2013的16位sigma-delta ADC,以滿足需要更高分辨率測量的應用。
與TI的CC2500 2.4 GHz收發器或CC2520 ZigBee收發器配合使用,TI等集成MCU可提供完整的遠程電池監控解決方案。另外,設計人員可以選擇Silicon Labs SI1031 MCU等MCU,它集成了高速8051內核,12位ADC,存儲器,多個數字外設和ISM頻段收發器。 Silicon Labs SI1021還提供集成的LCD控制器,以支持本地顯示功能。
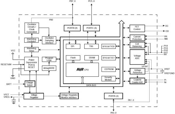
專為電池管理而設計,Atmel ATMEGA32HVB將公司的AVR 8位MCU與12位ADC,18位庫侖逆流ADC和存儲器相結合,可監控多達4個鋰離子電池,電流,大電流和短路故障(圖2)。 Atmel設計了ATMEGA32HVB,以便在引腳短路,充電器連接不良,軟件錯誤或由電池組或VCC短路引起的電源斷電時為電池提供安全保護。該器件還提供外部保護輸入,允許工程師使用外部組件實現專門的電池保護功能。

圖2:Atmel ATMEGA32HVB MCU將8位MCU內核與專用片上電路相結合,可監控多達4個鋰離子電池(Atmel提供)。
在運行中,ATMEGA32HVB上運行的軟件可以使用兩個外部熱敏電阻輸入通道監控單個電池電壓,以及片上溫度和外部溫度。庫侖計數器累積充電和放電電流,以13位分辨率報告高分辨率或瞬時電流測量的累積電流。
對于具有大型電池組或需要更深電池保護的應用的系統,工程師可以利用各種電池管理IC來監控電池組的關鍵性能參數,并在出現故障時向MCU提供信號。先進的電池管理IC,如ADI公司的AD8280,凌力爾特公司的LTC680x,Maxim Integrated MAX1492x和德州儀器公司的BQ76PL536,旨在監控通常用于能量存儲和電源備份的能量收集應用的大型電池組。此類器件通常集成了高分辨率ADC,精密電壓基準,高壓輸入多路復用器和用于與主機MCU通信的串行接口。
ADI公司的AD8280支持多達六個鋰離子電池,并提供獨特的自測功能,專為高可靠性應用而設計。在自測模式下,AD8280產生內部故障條件,并將結果與預期結果進行比較,如果自檢失敗則發出警報。
凌力爾特公司的器件LTC680x系列可同時監控多達12個鋰離子電池。雖然LTC6801和LTC6802器件專為鋰離子電池監測而設計,但LTC6803支持鋰離子電池,超級電容器和多化學電池監測,而LTC6804則支持鋰離子和鎳氫電池監測。
Maxim Integrated的MAX1492x系列通過MAX14920支持多達12個鋰離子電池,MAX14921支持多達16個電池。德州儀器(TI)BQ76PL536 IC最多支持六個鋰離子電池。
此類中的所有設備都提供以菊花鏈方式連接多個設備以監控大量單元的功能。工程師可以垂直堆疊德州儀器BQ76PL536,以監控多達192個鋰離子電池,而無需IC之間的隔離元件。與許多此類器件一樣,BQ76PL536提供高速串行外設接口(SPI)總線,可與MCU(如TI MSP430F5529低功耗16位MCU)進行通信。容-源-電-子-網-為你提供技術支持
本文地址:http://www.mnu8.com/dz/26/15482337363110.shtml
本文標簽:
猜你感興趣:
BMS電池管理系統的智能守護者:YSO110TR高精度全溫范圍
電壓有源晶振 YSO110TR的優勢在于其高精度和穩定性。10MHz的頻率下,其全溫范圍內總頻差僅為±30PPM,這意味著即使在嚴酷的環境條件下,晶振的頻率波動也非常小,保證了BMS系統的高精度控制和穩定性。無論是在高溫還是低溫環境中,YSO110TR都能保持可靠的性能,為電池管理系統提供持久穩定的時鐘信號
關鍵詞: 所屬欄目:電子基礎
PL5358 單電池鋰離子/聚合物電池保護集成電路
關鍵詞: 所屬欄目:元器件知識
PL7501C 雙節鋰電池充電管理芯片
關鍵詞: 所屬欄目:元器件知識
PL7501CL 雙節鋰電池充電管理芯片
關鍵詞: 所屬欄目:元器件知識
PL7152 雙節可充電鋰電池保護電路
關鍵詞: 所屬欄目:元器件知識
PL5353A 單電池鋰離子/聚合物電池保護集成電路
關鍵詞: 所屬欄目:元器件知識
PL7022/B 雙節可充電鋰電池保護電路
關鍵詞: 所屬欄目:元器件知識
M12266 Type-C輸入3-6節鋰電池同口充放電管理移動電源
深圳市永阜康科技有限公司現在大力推廣一顆內置PD3.0/QC3.0等主流快充協議、3-6多節鋰電池移動電源雙向100W快充IC-M12266,配合極簡的外圍電路,即可實現常見便攜電子設備的Type-C快充需求。
關鍵詞: 所屬欄目:電源電路
IU5207/IU5208 Type-C輸入升壓型2/3節鋰電池快充IC解
針對2/3節鋰電池供電的電子設備,最好的方式是采用通用Type-C接口充電,這樣就可以通用Type-C的充電器,便攜式移動電子設備出廠時搭配一根充電線就完美的解決上述應用的困擾,節省終端產品整機成本,避免材料的浪費。深圳市永阜康科技有限公司推出針對2/3節鋰電池充電應用,大力推廣Type-C輸入升壓型2/3節鋰電池快充IC系列-IU5207/IU5208,芯片極具性價比,應用簡單。
關鍵詞: 所屬欄目:電源電路
TP4055 500mA 線性鋰離子電池充電器
描述
TP4055 是一款完整的單節鋰離子電池充電器,帶電池正負極反接保護,采用恒定
電流/恒定電壓線性控制。其 SOT 封裝與較少的外部元件數目使得 TP4055 成為便攜式應用的理想選擇。TP4055 可以適合 USB 電源和適配器電源工作。
由于采用了內部 PMOSFET 架構,加上防倒充電路,所以不需要外部檢測電阻器和
隔離二極管。熱反饋可對充電電流進行自動調節,以便在大功率操作或高環境溫度條件下對芯片溫度加以限制。充滿電壓固定于 4.2V,而充電電流可通過一個電阻器進行外部設置。當電池達
關鍵詞: 所屬欄目:集成塊資料
TP4054 線性鋰離子電池充電器
概述
TP4054 是一款完整的單節鋰離子電池采用恒定電流/恒定電壓線性充電器。其 SOT
封裝與較少的外部元件數目使得 TP4054 成為便攜式應用的理想選擇。TP4054 可以適合USB 電源和適配器電源工作。
由于采用了內部 PMOSFET 架構,加上防倒充電路,所以不需要外部檢測電阻器和
隔離二極管。熱反饋可對充電電流進行調節,以便在大功率操作或高環境溫度條件下對芯片溫度加以限制。充電電壓固定于 4.2V,而充電電流可通過一個電阻器進行外部設置。當充電電流在達到最終浮充電壓之后降至設定值
關鍵詞: 所屬欄目:集成塊資料
鋰電池、鉛酸電池供電的戶外藍牙音箱如何選擇合適的升
深圳市永阜康科技有限公司一直致力音頻領域芯片的推廣,總結市場應用痛點,現推薦一套升壓+功放IC搭配應用組合,涵蓋20-60W單雙聲道的應用。升壓芯片、功放芯片系列管腳兼容,實現同一PCB,不同功率要求無縫切換,避免重復開發工作,縮短項目周期。
關鍵詞: 所屬欄目:音頻功放電路
M12229 雙節串聯鋰電池充放電管理的35W移動電源雙向快
現在市場上一般采用升降壓型充電管理芯片+快充協議芯片來實現,應用設計及外圍比較復雜。深圳市永阜康科技有限公司現在大力推廣一顆內置PD3.0/QC3.0快充協議升降壓型35W兩節鋰電充放電SOC芯片-M12229,輸入電壓3.3V-20V,最大充電電流5A,最大輸入/輸出功率35W,適用于雙節串聯大容量鋰電池的快速充電場合。
關鍵詞: 所屬欄目:電源電路
IU5302 充滿轉燈截止電壓可調的2A單節磷酸鐵鋰電池/鋰
現在市場上常見的充電芯片,恒壓充電電壓(俗稱轉燈電壓、充滿截止電壓等)一般是固定的。如鋰電池的充電管理芯片一般為4.2V,磷酸鐵鋰電池的充電芯片一般為3.6V,無法滿足各種不同類型電池的充電應用。深圳市永阜康科技有限公司總結充電管理芯片的應用痛點,大力推廣一款2A同步降壓型充電管理IC-IU5302,恒壓充電電壓可調(2V-5V)、可以滿足單節磷酸鐵鋰電池、鋰電池及其它類型電池的充電需求。
關鍵詞: 所屬欄目:電源電路
ACM3108/ACM3128/ACM3129立體聲D類功放芯片系列動態調
深圳市永阜康科技有限公司現在大力推廣具備動態調整升壓CLASS H功能的D類功放芯片系列-ACM31XX系列,功率覆蓋單聲道10W-100W、雙聲道2*10W-2*50W,供電滿足1-5串鋰電池及鉛酸電池的應用,能夠保證足夠功率輸出及音質體驗的前提下,極大延長電池的續航時間。
關鍵詞: 所屬欄目:音頻功放電路
干電池升壓IC 3.3V的電源芯片PW5100
PW5100 的工作頻率高達 1.2MHz,其目的是為了能夠減小外部的電感尺寸和輸出電容容值,故 PW5100 只需要 1uH 以上的電感就可以保證正常工作,
但是輸出端如果需要輸出大電流負載(例如:輸出電流大于 200mA),為了提高工作效率,建議使用較大一點的電感。
同時輕載應用,輸出電流10M,50MA左右時,建議使用大的的電感如6.8UH。
關鍵詞: 所屬欄目:電子器材
鋰電池充放電管理 (輸入5V輸出1.5V)ZCC5600
關鍵詞: 所屬欄目:電源電路
如何實現遠程開關控制?
關鍵詞: 所屬欄目:開關電源電路圖
如何遠程控制電源開關?
關鍵詞: 所屬欄目:開關電源電路圖
TP8312 滿足0.9V低電壓工作的一節兩節干電池升壓IC解決
深圳市永阜康科技有限公司針對1-2節干電池及鋰電池供電的移動設備應用需求,現在大力推廣一顆具備3uA超低靜態電流、最低啟動電壓0.65V低功耗同步升壓IC-TP8312。
關鍵詞: 所屬欄目:電源電路